压缩式垃圾车4大组成结构及液压系统原理图
压缩式垃圾车作为城市中常用的垃圾转运车辆,它具有运输效率高,操作安全方便等优势,该车辆的上装部分主要由4大结构组成,分别是:车箱、斗体、翻桶机构、液压系统,以下为你详细介绍4大结构的原理。
1、压缩式垃圾车车箱
大型压缩式垃圾车车箱用16号低合金槽钢与8mm、5mm、4mm、16Mn钢板焊接而成,车箱底部槽钢既是钢体结构的安装连接基础件,又是推板向支承。这样使得压缩垃圾车轻量化,更大限度地增加箱体有效空间和降低结构重心。
标准型压缩式垃圾车用12号低合金槽钢与5mm、4mm、16Mn钢板焊接而成,箱体通过付大梁固定在汽车底盘上。
压缩车箱底板为全密封结构,污水腐蚀,车箱积水**泄入斗体污水箱,以免腐蚀箱体和汽车底盘,以及避免行驶过程向路边漏洒污水,有效的防止了二次污染,行驶到指定排污地点后可打开阀门进行排放压缩后的污水。
2、压缩式垃圾车斗体
斗体又称垃圾装填器,装填器由框形骨架、导轨、弧形料斗、刮板、滑板、负压板和轻型覆盖件组成。通过刮板油缸、滑板油缸和负压板的顺序动作,实现将料斗内物料循环压入车箱的功能。滑板两侧装有八个滚轮,磨擦系数低、强度高、且能作微量摆动,以保证导轨的长期使用而不受磨损。
压缩垃圾车装填器又是车厢后部的密封装置,通过举升油缸、滑移铰链和锁紧装置来实现开启、关闭动作。
装填器的底部设有污水箱,车厢内部的积水和料斗内多余积水都流入污水箱,在卸料时污水箱内污水可**自行或手动排出。
3、压缩式垃圾车翻桶机构
翻桶机构又称为翻转机构,根据需要车辆在出厂时可选装翻桶机构(挂桶装置,所挂垃圾桶与挂桶垃圾车配套挂桶通用)、翻板机构(根据需求定制的可翻转现有垃圾箱或垃圾桶)或翻斗机构(尾部一个三角形垃圾斗,垃圾装入该斗中,翻入垃圾箱内,容量大),该机构采用液压双作用双缸翻转,铁桶或塑料桶再翻转过程中被系统锁紧,安全平稳力度大,结构合理。
注意;在整车移动时,该机构处于翻起状态,以便于正常行车。
4、压缩式垃圾车液压系统
压缩式垃圾车液压油缸动作采用电路控质气路,气路阀控制气缸,气缸操作液压多路阀,液压多路阀控制油缸动作。操作简单可靠,同时也具备手动直接操作液压多路阀,具有单液压系统双向控制。
压缩式垃圾车液压系统由油箱及过滤系统、油泵、多路换向阀、单向节流阀、油缸、油管等组成。系统的动力来源于发动机,通过取力器将动力分出,取力器带动齿轮泵工作。
压缩式垃圾车齿轮泵经吸油滤油器将液压油箱中的液压油吸入,多路阀(位于驾驶室外后、车箱前部)供油。多路阀工作时,使负压板油缸、滑板油缸、刮板油缸、举斗油缸或推板油缸产生动作,液压油缸不工作时,液压油经过多路阀直接回油箱。
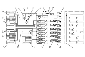
压缩式垃圾车液压系统原理图:(以东风压缩垃圾车车型为例)

序号 | 名称 | 规格 | 数量 | 备注 |
1 | 电路控制简图 | 汽车电源24V | ||
2 | 组合电磁气阀 | TG3522-02U | 1 | |
3 | 气缸 | MAL25×50 | 7 | |
4 | 组合多路阀 | 34DLS-10-P-000000 | 1 | |
5 | 举斗油缸 | HSGK01-63/35-700×450 | 2 | |
6 | 推板油缸 | DJG-150Ⅲ-1150×2170 | 1 | |
7 | 刮板油缸 | HSGK01-80/45-700×300 | 2 | |
8 | 滑板油缸 | DJG-115Ⅱ-1000×1020 | 2 | |
9 | 行程开关 | 2 | ||
10 | 负压油缸 | HSGK01-63/35-500×300 | 2 | |
11 | 翻桶油缸 | HSGK01-90/63-832×500 | 2 | |
12 | 液压油箱 | 1 | 自制 | |
13 | 油量(油温)指示器 | 1 | 选装 | |
14 | 液压油过滤器 | ZUT-A63×20 | 1 | |
15 | 截止阀 | Q11F-16P | 1 | |
16 | 液压油泵 | CBT-F532FHL | 1 | |
17 | 液压表 | YN-60 40MPa | 1 | |
18 | 空气净化器 | TW2000-02U | 1 | |
19 | 气压表 | 0~1.0MPa | 1 | |
20 | 油门拉杆 | 1 | ||
21 | 电磁气阀 | DH261 | 1 |
上表中列出了液压系统中各个控件的规格及所需数量,个别部件规格可能会由于更新换代发生变化,请仔细查阅压缩式垃圾车出厂使用说明书。
| 上一条: | 吸尘车怎么操作使用 需要注意什么? |
| 下一条: | 后装压缩垃圾车卸除垃圾操作使用三大步骤 |








